RX型垫片
RX型RTJ环垫圈制造符合API 6A和ASME B16.20标准,适合API 6 B和ASME / ANSI B16.5法兰。
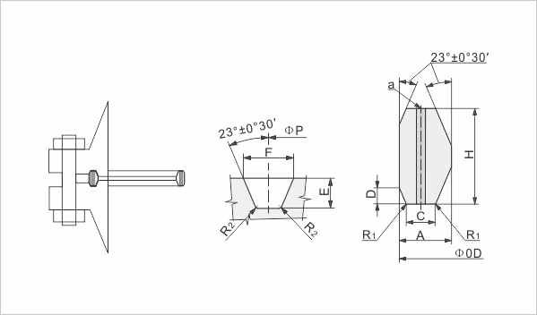
RX型是一个压力能量适应的标准R型垫圈。RX型的设计以适应同一个标准的R槽设计,使得接合互换。修改后的设计使用压力能量影响,提高了系统内部压力,增加密封的效率。
压力:2000 - 5000 PSI

公差:(mm)
A *(环的宽度)
+ 0.20,-0.000
h(环的高度)
+ 0.20,-0.000
外径(外径)
+ 0.5,-0.000
23 *(角)
1/2°
*宽度公差为0.008英寸。
“A”和高度“H”是允许的,只要宽度或高度的变化在整个圆周上不超过0.004英寸。
注 1:
压力通道孔说明在环式接头截面保证均衡的压力可能会被困在槽,它是在环rx82通过rx91只。孔的中心线应位于“C”(宽平)的中点。孔直径应为A。
|
环号 |
PRESSLURE ALASSES, API 6B |
中心径 P |
外直径 0D |
环宽 A |
环高 H |
重量 Ibs. |
|||
|
720-960and 2000[Note(1)] |
2900[Note(1)] |
3000 |
5000 |
||||||
|
Rx20 |
1 1/2 |
- |
1 1/2 |
1 1/2 |
68.26 |
76.20 |
8.73 |
19.05 |
0.527 |
|
Rx23 |
2 |
- |
- |
- |
82.55 |
93.27 |
11.91 |
25.40 |
1.15 |
|
Rx24 |
- |
- |
2 |
2 |
95.25 |
105.97 |
11.91 |
25.40 |
1.33 |
|
Rx25 |
- |
- |
- |
3 1/8 |
101.60 |
109.54 |
8.73 |
19.05 |
1.42 |
|
Rx26 |
2 1/2 |
- |
- |
- |
101.60 |
111.92 |
11.91 |
25.40 |
1.50 |
|
Rx27 |
- |
- |
2 1/2 |
2 1/2 |
107.95 |
118.27 |
11.91 |
25.40 |
1.73 |
|
Rx31 |
3 |
- |
3 |
- |
123.83 |
134.54 |
11.91 |
25.40 |
1.91 |
|
Rx35 |
- |
- |
- |
3 |
136.53 |
147.24 |
11.91 |
25.40 |
2.09 |
|
Rx37 |
4 |
- |
4 |
- |
149.23 |
159.94 |
11.91 |
25.40 |
2.27 |
|
Rx39 |
- |
- |
- |
4 |
161.93 |
172.64 |
11.91 |
25.40 |
2.54 |
|
Rx41 |
5 |
- |
5 |
- |
180.98 |
191.69 |
11.91 |
25.40 |
2.72 |
|
Rx44 |
- |
- |
- |
5 |
193.68 |
204.39 |
11.91 |
25.40 |
2.96 |
|
Rx45 |
6 |
- |
6 |
- |
211.14 |
281.85 |
11.91 |
25.40 |
3.66 |
|
Rx46 |
- |
- |
- |
6 |
211.14 |
222.25 |
13.49 |
28.58 |
8.56 |
|
Rx47 |
- |
- |
- |
8(2) |
228.60 |
245.27 |
19.84 |
41.28 |
3.79 |
|
Rx49 |
8 |
- |
8 |
- |
269.88 |
280.59 |
11.91 |
25.40 |
5.36 |
|
Rx50 |
- |
- |
- |
8 |
269.88 |
283.37 |
16.67 |
31.75 |
4.56 |
|
Rx53 |
10 |
- |
10 |
- |
323.85 |
334.57 |
11.91 |
25.40 |
6.45 |
|
Rx54 |
- |
- |
- |
10 |
323.85 |
337.34 |
16.67 |
31.75 |
5.36 |
|
Rx57 |
12 |
- |
12 |
- |
381.00 |
391.72 |
11.91 |
25.40 |
26.40 |
|
Rx63 |
- |
- |
- |
14 |
419.10 |
441.72 |
26.99 |
50.80 |
6.63 |
|
Rx65 |
16 |
- |
- |
- |
469.90 |
480.62 |
11.91 |
25.40 |
9.39 |
|
Rx66 |
- |
- |
16 |
- |
469.90 |
483.39 |
16.67 |
31.75 |
7.52 |
|
Rx69 |
18 |
- |
- |
- |
533.40 |
544.12 |
11.91 |
25.40 |
20.14 |
|
Rx70 |
- |
- |
18 |
- |
533.40 |
550.07 |
19.84 |
41.28 |
11.63 |
|
Rx73 |
20 |
- |
- |
- |
584.20 |
596.11 |
13.49 |
31.75 |
22.10 |
|
Rx74 |
|||||||||